相关栏目
    热点文章
    首页 » 正文

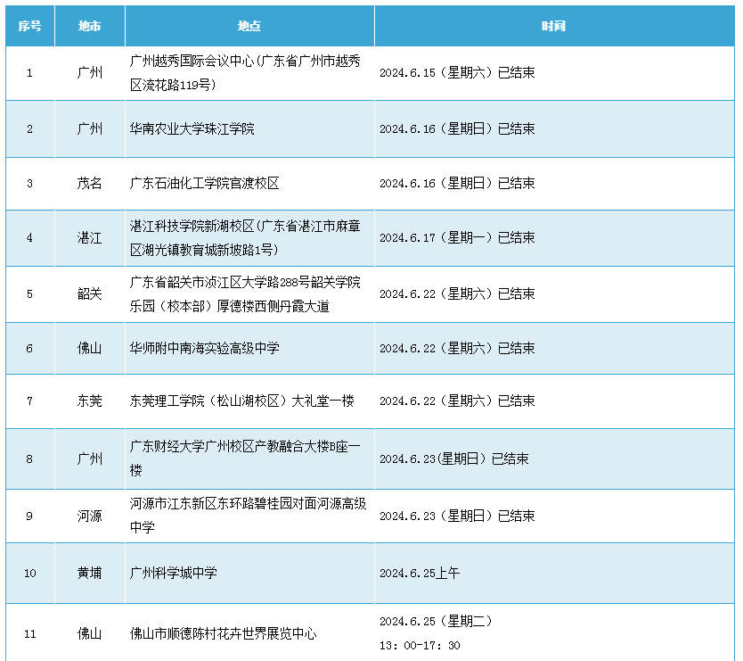
    广州理工学院2024年普通本科线下招生咨询会安排表

    发布时间:2024年06月24日 来源: 广州理工学院官网 字体大小: